Clamshell Harness

A novel new Design, Improving functionality and safety

We are pleased to present, our newly developed protective headwear harness for incorporation into PPE products. 


Patented in Australia 15th June 2024.

Background

Despite significant advances in welding helmets, face masks for sanding/grinding etc. Harness designs currently in use have remained ostensibly the same for decades.

These time honoured designs whilst being adequate, present various issues which our Clamshell design addresses.

The adjustable band and side pivots design, which is standard in many products has several problematic features, defined as follows.

1) Attempts to combine a respirator mask with the band and pivots design are hampered by the side pivots which prevent movement necessary to facilitate a facial seal when this type of design is utilised.

In an attempt to remedy this issue, slimline filters mounted on a respirator mask with an independent elastic harness, worn behind a welding helmet had varying degrees of success, but are uncomfortable requiring two independent types of harness to be worn together.

2) The adjustment knob at the rear of the harness creates further problems for a user when working in the supine position. e.g. whilst working on their back on the undercarriage of a vehicle or similar activity.

3) The equipment tends to slide sideways when working horizontally, often impeding vision, creating safety and workmanship issues

The pursuit of a design to remedy these shortcomings required a departure from both the adjustable band and pivots, and elastic stretch designs, which would be completely different.

We instead, created a design which focuses on anterior and dorsal movement capability, thus eliminating the pivots restriction.

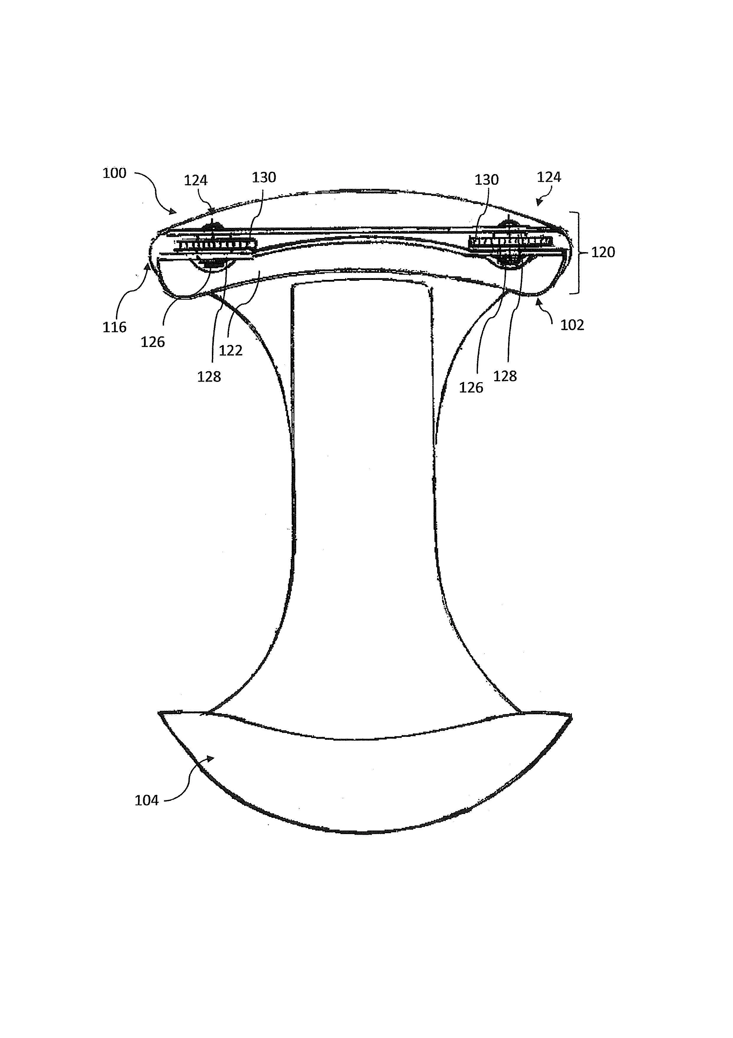
By use of a sliding mechanism connecting a mask to a rear moulding which cradels the rear of the users head, we have created a novel, new design which revolutionises the head harness market, improving function and safety with the added features of comfort and ease of fitting.

The clamshell harness may be used in various PPE purposed mask designs, ranging from designs which require a respirator included, to designs which do not.

When a respirator is present, the design creates an interactive pressure configuration which is particularly effective, creating a snug fit to the user's head.

The resulting balance creates a more effective and comfortable fit for the user, lessening neck strain and enabling the user to work with added comfort in the supine position.

When working horizontally, sideways slippage is reduced significantly and ease of movement is improved, resulting in greater safety and improved operational utility.

How It Works

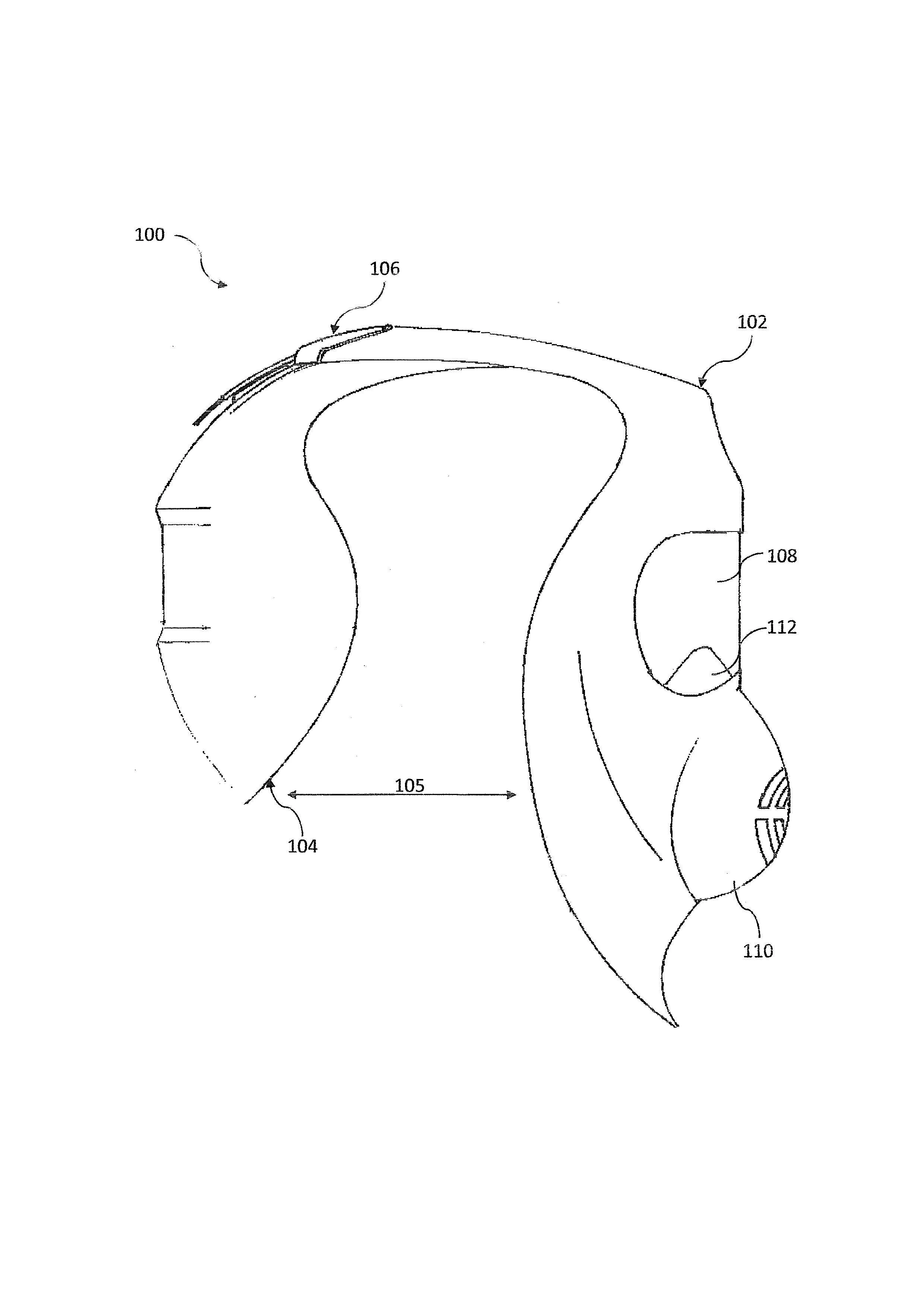
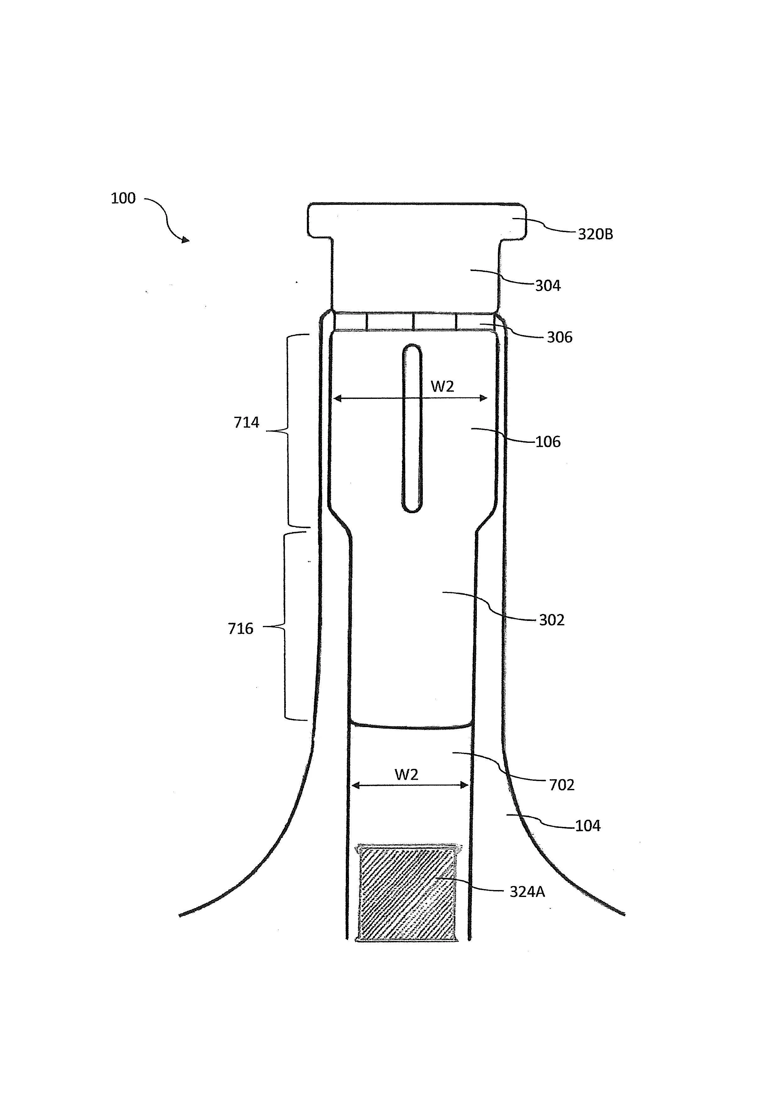
A front mask (for which ever purpose required,) is connected to a rear cupped moulding by a slideably adjustable, hinged mechanism, which is movable frontwards and backwards. A plate affixed to the rear moulding traverses a curving channel incorporated into the front portion in a downwards trajectory.

As the two male and female components cross over at the relative apex of the users head, outwards pressure is exerted within the channel, enabling the two halves to lock onto the users head in a closed position.

A secondary lock is used, (which can take many different forms) in this case a velcro strap, was chosen for ease of use and durability, to retain the locked position.

To remove, the hamess, the velcro is released and the mask is drawn forwards and downwards by realigning the plate in the channel.

The result is an easily, quickly applied and removed piece of equipment, which is effective and comfortable to wear.

Current status

A patent application was filed in Australia 15 December 2022.

A PCT application filed on 28 April 2023

IP Australia examiners reported that the design was "new, novel and inventive with industrial applications". The design proceeded to the public window objection period of three months. No challenges were lodged and an Australian patent was issued on 15th of June 2024.

PCT examiners, having conducted an international patent search reached the conclusion that the design did not infringe on any existing patented designs internationally.

Their findings were the same as Australia IP examiners is that the design is "new, novel and inventive with industrial applications".

It will be obvious that the design would also have applications outside the fields of industry e.g. military and medical usage etc.

Australian Patent number 2022903854

PCT application number 

PCT/NZ2023/0540047 

We invite expressions of interest from investors wishing to secure licensing of market rights, to use our design or incorporate into PPE products whether by selective markets or monopoly thereof.

Of Interest

A survey of welders in New Zealand conducted in the mid 1990s by ACC Occupational Safety found that 70% of welders surveyed had suffered respiratory damage due to welding. An alarming 40% were found to have lung cancer. Inhalation of fumes from fluxes and gases involved during welding with inadequate respiratory protection was believed to be responsible.

Expressions of interest may be directed to Clamshell Limited

  • W.E. Blake.

    warren.e.blake@gmail.com

    PO Box 256
    Ngongotaha
    Rotorua
    New Zealand

    W.E. Atkinson

    8/18 Dudley Crescent
    Cable Bay
    Far North District 0420
    New Zealand